3000 HOCHIKI style
Series HPS-SAH, HPS-SAK, HPS-DAH, HPS-DAH/S, HPS-DAK, HPS-DAK/S Manual Non-Coded Pull Station Standard Features
• Metal Construction
• Enclosed switch with glass rod (included)
• 10 Amps @ 120 VAC
• Available in: Single Action, Dual Action and Dual Action in Spanish (HPS-DAH/S)
• UL, FM, CSFM Listed
• Made in USA
Description

Hochiki America’s Models HPS series pull stations are available in six models:
• HPS-SAH single action
• HPS-SAK single action with key lock
• HPS-DAH dual action
• HPS-DAH/S dual action (Spanish)
• HPS-DAK dual action with key lock
• HPS-DAK/S dual action with key lock (Spanish)
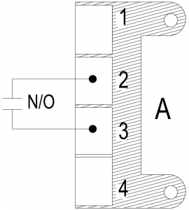
Each model is constructed of a solid die cast housing and comes in glossy red. The back switch plate is plated steel. The electrical switch is rated for 10 Amps @ 120 VDC normally open contact rating. All models are connected via terminal block connections.
Product Listing
CSFM #: 7150-0410:162

Specification

Electrical Wiring

















